該FOC電調參考設計是一個低成本的評估平台,適用於四旋翼/無人機應用。
螺旋槳由三相永磁同步或無刷電機驅動。
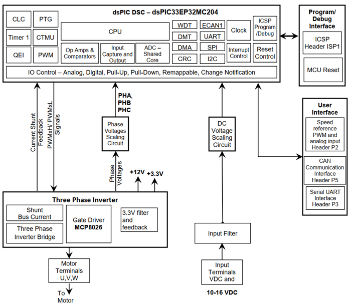
這個設計基於Microchip dsPIC33EP32MC204 DSC數字信號控制器。
►場景應用圖

Microchip
►展示板照片

Microchip

Microchip
►方案方塊圖

Microchip
►核心技術優勢
•三相電機控制功率級 •通過雙分流電阻方法進行相電流反饋,以獲得更高的性能 •相電壓反饋,實現無傳感器梯形控制或快速啟動 •用於過電壓保護的直流母線電壓反饋 •使用Microchip編程器/調試器進行在線串行編程 •CAN通信
►方案規格
•輸入電壓: DC 11V~14V。 •極限電壓: DC 20V。 •極限輸入電流: 10A。 •連續輸出相電流: 8A(RMS) •峰值輸出相電流: 44A •PWM輸入: 數字信號-PWM 50Hz,3~5V,4~55%占空比。 •模擬輸入: 0~3.3V