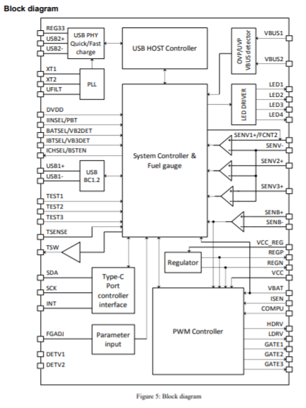
安森美半導體(ON Semiconductor),推出高度集成的單晶片移動電源配置用於開發下一代鋰離子電池供電的產品。LC709501F鋰電池完整方案提供寬廣的功率和5伏(V)、9 V和12 V工作的電壓/電流輸出範圍,通過簡單的FET選擇,最大充放電能力達30瓦(W)。
LC709501F確定連接了什麼類型的設備並自動選擇可用的最快充電方法。資深用戶甚至可以重新程式設計LC709501F以支援定制的充/放電曲線,以及USB Type-C和PD“策略引擎”功能。該單晶片方案包括集成的電量計功能、可配置的I/O、LED驅動器、I2C介面,和用於外部功率MOSFET的預驅動器,提供系統靈活性。安森美半導體且提供設計參考套件以實現快速上市。LC709501F通過改變外部MOSFET支持達30 W的多種不同輸出功率級別。此外,該單晶片有一個集成的USB 2.0全速主機控制器。
LC709501F的USB主機控制器支援與iOS和Android應用程式互通互聯,使該器件能與連接的智慧手機通信,從而利用其顯示幕顯示有關電池健康和充電過程的資訊(充電時間、電池使用時間、完成的充電週期次數等)。該器件相容智慧手機廠商採用的專有充電協定(如快速充電和高通快速充電)以加快充電時間。為確保運行的壽命,LC709501F還提供過流、過壓和冗餘電池保護機制,以及一個用於溫度監測的熱敏電阻。LC709501F支援的工作溫度範圍為- 40°C至+ 85°C。
►場景應用圖

►產品實體圖

►展示板照片

►方案方塊圖

►核心技術優勢
自動USB偵測 韌體支援不同的USB接口 支援USB BC1.2 支援溫度 / 過電壓 / 過電流偵測
►方案規格
搭配Port controlIC支援USB type-C DRP 支援快速充電3.0 HVDCP Class A 5V up to 12V 接口溝通可以在手機端顯示Power Bank 電池資訊 支援降壓充電 / 升壓充電 低靜態電流 15uA