USB充電電路圖及原理介紹
除直接供電USB器件外,USB更有用的一個功能是用USB電源進行電池充電。由於很多便攜裝置(如MP3播放機,PDA)與PC交換信息,所以,電池充電和數據交換同時在一條纜線上進行將會使裝置方便性大大增強。把USB和電池供電功能結合起來,擴大了"非受限"裝置(如移動web相機連接PC或不連接PC工作)的工作範圍。在很多情況下,不必攜帶不方便的AC適配器。從USB對電池充電可以複雜也可以簡單,這取決於USB設備要求。對設計有影響的因素通常是"成本"、"大小"和"重量"。其它重要的考慮包括:1)當設備插入到USB埠時,帶放電電池的設備能夠以多快的速度進入完全工作狀態;2)所允許的電池充電時間;3)受USB限制的電源預算;4)包含AC適配器充電的必要性。本文從電源觀點詳述USB之後,將針對這些問題給出解決方案。



圖3 從USB簡單充電100mA和從AC適配器充電350mA不需要枚舉,這是因為USB充電電流不超過"一個單元負載"(100mA)。3.3V系統負載總是從電池汲取電流。
USB電源
所有主機USB設備(如PC和筆記本電腦)至少可以供出500mA電流或每個USB插口提供5個"單元負載"。在USB述語中,"一個單元負載"是100mA。自供電USB插孔也可以提供5個單元負載。總線供電USB插孔保證提供一個單元負載(100mA)。根據USB規範和圖1的說明,在纜線外設端,來自USB主機或供電插孔的最小有效電壓是4.5V,而來自USB總線供電插孔的最小電壓是4.35V。這些電壓在為鋰離子電池充電時(一般需要4.2V),其餘量是很小的。
入USB埠的所有設備開始汲取的電流不得大於100mA。在與主機通信後,器件可決定它是否可以占用整個500mA。
USB外設包含兩個插孔中的一個。兩個插孔都比PC和其他USB主機中的插口要小。"SeriesB"和更小的"Series Mini-B"插孔示於圖2。從SeriesB的引腳1(+5V)和4(地)和Series Mini-B的引腳1(+5V)和5(地)得到電源。
一旦連接,所有USB設備需要主機對其加以識別。這稱之為"枚舉"。在識別過程中,主機決定USB設備的電源以及是否為其供電,對於被認可的設備可以將負載電流從100mA增大到500mA。
簡單的USB/AC適配器充電電路
某些非常基本的設備不希望額外的軟體開銷,此開銷對有效USB電源的分類和最佳使用是需要的。若設備負載電流限制到100mA(在USB中稱之為"一單元負載"),則任何USB主機、自供電 插孔可以對設備供電。對於這樣的設計,一個非常基本的充電器和穩壓器電路示於圖3。
每當器件連接USB或插入AC適配器時,此電路就為電池充電。在同一時間,系統負載總是連接到電池,在這樣的情況下,通過簡單的線性穩壓器(U2)可提供高達200mA電流。若系統連續地汲取這樣的電流量而電池正在以100mA電流從USB充電,則電池仍將放電,這是由於負載電流超過了充電電流。在大多數的小系統中,峰值負載只發生在總工作時間的一小部分時間內,所以只需要平均負載電流小於充電電流,電池仍將充電。當連接AC適配器時,充電器(U1)最大電流增加到350mA。若在同一時間連接USB和AC適配器,則AC適配器自動處於優先供電的地位。
U1的一個特性是USB規範所要求的(也是一般充電器的法則),即決不允許電流從電池或其他電源輸入回饋到電源輸入。在一般充電器中,用輸入二級管可保證做到,但最小的USB電壓(4.35V)和所需的鋰離子電池電壓(4.2V)之間的差值很小,甚至用肖特基二極體也是不合適的。基於此原因,在U1 IC中斷開全部反向電流通路。
圖3的電路有一些局限性,使它不適於一些可充電的USB設備。最明顯的局限性是其相當低的充電電流,使得對大於幾百毫安一小時的鋰離子電池充電耗費時間很長。第二個局限是負載(線性穩壓器輸入)總連接到電池。在這種情況下,系統不能夠在插入後立即工作,這是因為電池深度放電,在電池達到一個足夠的電壓使系統工作之前有一段延遲時間。
負載切換和增強型電路
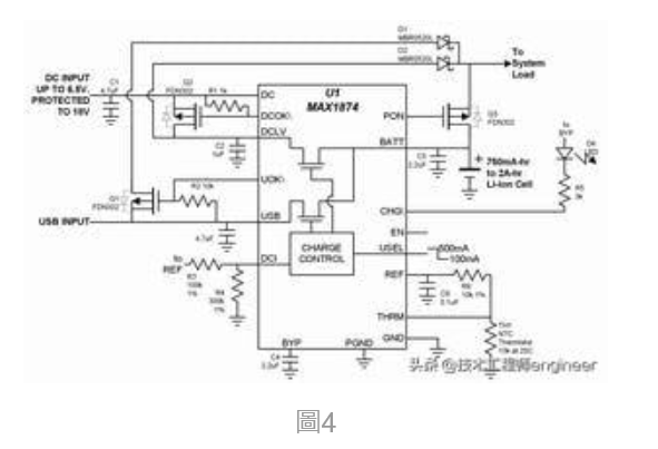
在更先進的系統中,充電器或圍繞充電器需要一些增強性能。這包括可選擇的充電電流以適應不同電源或電池的供電能力,插入電源時的負載切換以及過壓保護。圖4所示電路增加了這些功能,它是藉助於充電器IC電壓檢測器驅動的外部MOSFET實現的。MOSFET Q1和Q2以及二極體D1和D2旁路電池,直接連接有效(USB或AC適配器)電源輸入與負載。當電源輸入有效時,DC輸入具有優先地位;U1防止在同一時間兩個輸入都有效。二極體D1和D2防止通過"系統負載"電源通路產生的輸入之間的反向電流,而充電器具有內置電路排除通過充電通路(在BATT)的反向電流。
MOSFET也提供AC適配器過壓保護(高達18V)。欠/過壓監控器使AC適配器電壓只在4V和6.25V之間。
MOSEFT Q3在不存在有效外部電源時導通,使電池連接到負載。當USB或DC電源連接時,PON(電源開關)輸出立即斷開Q3,使電池與負載斷開。系統在加外部電源時能立即工作,既使電池深度放電或損壞也能立即工作。
當連接USB時,USB器件與主機通信決定負載電流是否可以增加。若主機允許,負載開始在一個單元負載並增加到5個單元負載。5到1個單元負載的電流範圍對於一般充電器(不是設計用於USB)來說存在一個問題。一般充電器的精度,儘管可滿足高電流要求,但通常在低電流設置方面不能滿足要求,這是由於電流檢測電路的偏差造成的。其結果是小範圍充電電流(1個單元負載)必須設置得足夠低,以保證不會超過100mA限制。例如,對於500mA的10%精度而言,輸出必須設置為450mA,以保證它不會超過500mA。這僅僅是可接受的;然而,為了保證低充電電流不超過100mA ,其額定電流必須設置為50mA,而最小值可能是0mA,這顯然是不可接受的。若USB充電在兩個範圍都有效,則需要有足夠的精度,使得最大可能的充電電流不超過USB限值。
在某些設計中,系統電源要求用小於500mA USB預算分別供電負載和充電電池是做不到的,但用AC適配器就不成問題。圖5所示電路(圖4的簡化子系統)是一個經濟的連接方法。USB電源不直接接到負載。充電和系統工作仍然發生在USB電源,但系統保持與電池的連接,其限制和圖3一樣:在連接USB時,若電池深度放電,則系統可以在工作前有一段延遲。若連接DC電源,則圖5工作狀態與圖4相同,無等待時間,與電池狀態無關,這是因為Q2截止,通過D1系統負載從電池轉到DC輸入。
鎳氫電池充電電路
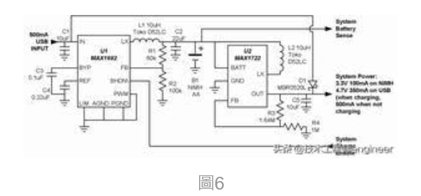
儘管鋰離子電池能為大多數便攜裝置提供最好的性能,但NiMH(鎳氫)電池仍然是低成本設計的可行選擇。在負載要求不是太嚴格時,保持低成本的一個好方法是用NiMH電池。這需要一個DC-DC變換器升壓,一般從1.3V電池電壓提升到器件可用的電壓(一般為3.3V)。由於任何電池供電器件需要穩壓器,所以,DC-DC變換器僅僅是一個不同的穩壓器。圖6所示電路,用獨特的方法為NiMH電池充電,並且不用外部FET在USB輸入和電池之間切換系統負載。"充電器"實際上是一個工作在電流限制下的DC-DC升壓變換器(U1)。以300和400 mA之間的電流為電池充電。儘管沒有精密的電流源,但它具有適當的電流控制,甚至在電池短路時也能夠保持電流控制。DC-DC充電拓撲相對於一般線性方案的最大優勢是能有效地利用有限的USB電源資源。在以400mA電流NiMH電池充電時,電路從USB輸入僅汲取150mA。而充電時剩餘350mA用於系統。
二極體D1實現從電池到USB的負載拉出。不連接USB時,升壓變換器產生3.3V輸出。連接USB時,D1上拉DC-DC升壓變換器(U2)輸出到4.7V左右。當U2輸出上拉時,它自動關閉而從電池汲取的電流小於1mA。在USB連接時,若對於輸出從3.3V變換到4.7V不能接受,則可以加入一個與D1串聯的線性穩壓器。
此電路的限制是依靠系統來控制充電結束。U1僅僅做為一個電流源,若長期不管它,它將會過充電電池。R1和R2置U1的最大輸出電壓為2V,做為安全限值。"Charge Enable"("充電使能")輸入起到系統結束充電作用以及枚舉前降低USB負載電流的作用,這是由於充電器的150mA輸入電流大於一個負載

圖4 SOT-23功率MOSFET可增加有用的性能(如過壓保護和加外電源時斷開電池)。當電池充電無負載時,有效電源直接驅動系統。

圖5 簡單的設計使USB電源不直接接到負載,而是由DC輸入到負載。當USB連接時,系統仍然由電池供電,而電池也正在充電。

圖6 簡單的NiMH充電/電源配置自動傳送電源到USB,而設有複雜的MOSFET開關陣列。
評論